25個三菱PLC編程常見問題,你遇到過幾個?(一)
【1】PLC的輸出是不帶電源的嗎?比如說我要控制個110V繼電器。是不是要加個電源?怎么接線?
答:PLC的輸出端口僅僅是一個驅動負載的開關,本身是不帶電源的,如果要控制個110V繼電器,要加個電源。PLC的輸出端接到繼電器的線圈,繼電器還要接到220V交流電源,PLC的COM端也接到220V交流電源。
【2】為什么輸入端口的地址沒有X8,X9?
答:三菱PLC的輸入繼電器和輸出繼電器都是以八進制進行編址的,所以只能是X0-X7,而沒有X8,X9,X7后面的地址應該是X10。
【3】PLC輸出回路中需要加入保險絲嗎?
答:PLC輸出回路中需要加入保險絲,因為當負載一旦發生短路或故障時,容易燒壞觸點或晶體管,還會燒壞輸出電路所在的印制電路板,因此,需要在負載回路上加入起短路保護作用的保險絲。
【4】PLC我想利用編程口與變頻器通信,可以嗎?
答:三菱FX PLC可以使用自帶的編程口和變頻器通信,但是要使用變頻器通信專用指令。變頻器通信指令由于受到通信協議的限制,并不是對所有品牌的變頻器都適用,一般來說,三菱PLC的變頻器通信指令只能對三菱的變頻器進行通信控制,而不能對其他品牌的變頻器進行通信控制。
【5】FX2N PLC怎么和觸摸屏連接,要設置什么參數嗎?
答:FX2N PLC要和觸摸屏連接,可以用SC-09電纜的圓口插PLC的編程口,串口接到觸摸屏的串口上,此外,還要在觸摸屏端的系統參數設置里面設置好使用的PLC類型為FX2N、接口類型為RS232、以及設置端口、波特率等,在PLC編程軟件的參數里面設置的端口、波特率、校驗位、數據位、停止位等要與觸摸屏的設置保持一致,這樣就可以使FX2N PLC觸摸屏連接起來。
【6】老師 FX2N PLC如果拔掉電池程序會不會丟失啊?
答:一般來說,因為PLC內部有充電電容,即使把電池拔掉,電容上充電電量也足夠RAM內的數據保持一段時間,所以如果拔掉電池后在短時間內(通常5分鐘)再將新電池換上去,程序是不會丟失的,如果拔掉電池長時間不更換新電池上去,程序則會丟失。
【7】咨詢一下三菱FX1N和2N的PLC可以各用哪款直接代替,三菱官網通知1N 和2N都停產了,我們有些設備都是用的這兩款,想趕緊找下可以直接代替的備上,以備急用。
答:可以選擇FX 3U的PLC,但是替換之前一定要查看原來的程序中所使用的指令在FX3U PLC是否支持,以及原來的程序中所使用的相關系統存儲器是否與FX3U PLC相同,如果相同才可以替換。
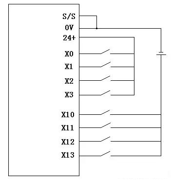
【8】老師,我想在FX3U PLC的輸入端口接入無源開關,XO—X3使用內置24V電源,而在X10—X13使用外置電源?應如何接線?
答:
【9】一個PNP型三線制接近開關,應如何接入FX3U PLC的輸入端口。
答:把PNP型三線制接近開關的信號輸出端接PLC的輸入口如X0,PNP型接近開關的0V端接到PLC上的0V端子,還要把S/S端子跟0V端子短接起來,PNP型接近開關的+24V端接到PLC上的24+端子。如果是外接24V電源的話,那么把PNP型三線制接近開關的信號輸出端接PLC的輸入口如X0,PNP型接近開關的0V端接到外接24V電源的負,還要把S/S端子跟外接24V電源的負短接起來,PNP型接近開關的+24V端接到外接24V電源的正
【10】PLC的掃描周期是固定的,那么我怎么知道我寫的程序超過固有的掃描周期呢,有什么方法知道 ,且怎么延長掃描周期呢?
答:如果要知道當前的掃描周期,可以直接從PLC的特殊寄存器D8010中讀取;如果PLC里面有特殊存儲器可以用來設定恒定掃描周期,那么只需要給這個特殊存儲器中設定指定的數值,就可以改變掃描周期的時間。
【11】請問“MOV K0 K2Y0"的意思是說把Y0--Y7復位,那么為什么”MOV K1 K2Y0“卻不是把Y0--Y7置位的呢?而只是單把Y0置位的?
答:指令中的K2Y0是組合位元件,代表的是Y0-Y7,MOV K0 K2Y0指令傳送0到K2Y0,實質傳送的是二進制數,0的二進制數是B 0000 0000,所以是將Y0-Y7復位,MOV K1 K2Y0指令傳送1到K2Y0,1的二進制數是B 0000 0001,所以是對Y0置位為1,而不是把Y0-Y7都置位。
【12】在梯形圖中輸入T1K20,顯示軟元件設置不正確是怎么回事
答:在梯形圖中輸入T1K20,顯示軟元件設置不正確,是因為T1和K20中間沒有空格,空格多少沒有規定,但至少要空1格。正確的輸入方法是:OUT T1 K20,注意OUT和T1,T1和K20之間都要留有空格,輸入定時器指令時還需要注意不要將字母O與數字0混淆。
【13】例如X001控制T5,T5的延時為50S,那X001是否需要接通50S,T5才動作?還是只需接通就可以了?
答:X001需要接通50秒,T5才動作。因為X001是定時器的驅動條件,而T5是屬于通用型定時器,當驅動條件X001斷開,那么定時器會復位,不再計時。
【14】實我手上有臺FX1N-40MR-001的PLC,輸出端(Y側)有幾個COM端子:COM1.COM2,COM3,COM4,COM5,怎么用用啊,究竟對應Y里面著哪些Y端子啊?
答:因為輸出負載包括接觸器、繼電器線圈、電磁閥線圈、指示燈、喇叭等,各種負載的電源性質可能不相同。為了適應不同的負載電源,所以PLC把輸出端分成幾組,同一組端口的負載電源是相同的,不同組的端口可以接不同的電源。
FX1N—40MR輸出為4點共端,即每個4個輸出點一個公共端。稱作4點共端。其對應關系是COM1為YO—Y3的公共端。COM2為Y4—Y7的公共端。以此類推。
【15】輸出輸入端的那幾個黑點端有什么用的?
答:輸出輸入端的那幾個黑點端是為了配合PLC的整體結構而留下的空端子,內部沒有接線,是無用的端子,不用做任何接線。空端子不能作接線端子使用,如果使用,會對PLC產生干擾。
【16】FX系列PLC的編程電纜型號是什么?
答:FX系列PLC的編程電纜型號是SC-09電纜或者USB-SC09-FX電纜。SC-09為連接電腦串口用。USB—SC09—FX為連接電腦USB口用。
【17】三菱PLC [D<= D150 H0] 是什么意思?
答: [D<= D150 H0] 是觸點比較指令,前面帶D表示該指令是32位的觸點比較指令,比較32位數(D151,D150)的值是否小于等于0,如果滿足該條件則觸點接通,如果不滿足條件則觸點斷開。
【18】請教[D<= D108 C251]是什么意思?
答:[D<= D108 C251]是觸點比較指令,前面帶D表示該指令是32位的觸點比較指令,比較32位數(D109,D108)的值是否小于等于計數器C251的當前值,如果滿足該條件則觸點接通,如果不滿足條件則觸點斷開。
答:在三菱PLC編程中置位和復位指令不一定要一起使用,可以只出現置位指令,也可以只有復位指令,也可以成對使用。
【20】請問如何替換三菱FX2N PLC中已損壞的X.Y點?
答:僅當PLC有多余的正常的X,Y點時,才可以用多余的X,Y點替換已損壞的X,Y點。替換時,首先把外部設備的接線作相應更改。其次,利用編程軟件的查找替換的功能,把已損壞的X,Y點查找替換成其他未使用過的正常的X,Y點。保證程序正常運行。
【21】外部輸入信號X0 在1秒鐘內有10次輸入,這個情況下,是不是需要使用高速計數器?
答:是不是需要使用高速計數器,決定PLC的掃描周期。計數器輸入脈沖信號的頻率不能過高,如果在一個掃描周期內,輸入的脈沖信號多過1個時,那其余的脈沖信號則不會被計數器進行計數。這樣,會產生計數不準確問題,因此,對計數器輸入脈沖的頻率是有一定要求的。一般要求脈沖信號的周期要大于2倍的掃描周期,保證不會發生計數丟數現象。
外部輸入信號X0 在1秒鐘內有10次輸入時,PLC的掃描周期最好在50ms之內。如超過100ms,最好要使用高速計數器。
【22】FX2N系列的PLC 普通計數器 1秒鐘最大能響應多少次的輸入信號呢?
答:1秒鐘最大能響應多少次的輸入信號,決定PLC的掃描周期。計算公式是:1000÷掃描周期(ms) = 輸入信號的最大頻率。為保證不會發生計數丟數現象。最好脈沖信號的周期要大于2倍的掃描周期,
【23】下面的程序中
(MOVP K2 D0)
(MOVP K4 D1)
(DMOV D0 D2)
程序第三行D0和D2下面分別出現了:262146請問是怎么出來的?
答:因為 (DMOV D0 D2)是32位的傳送指令,該指令是把(D1 D0)的數據傳到到(D3 D2),而前面兩條傳送指令執行的結果是D0是K2,D1是K4,實際上D0內部二進制數是B0000 0000 0000 0010 ,D1內部二進制數是B0000 0000 0000 0100,所以(D1 D0)實際上是B0000 0000 0000 0100 0000 0000 0000 0010,該32位二進制數對應的十進制數就是262146。
【24】請問在應用主控指令MC N0 M100時,左母線上的N0 M100觸點應該怎么輸入進去呢?
答:左母線上的N0 M100觸點是不需要自己輸入進去的,當編程軟件的狀態處于寫入模式時,左母線上沒有該觸點,只需要把模式切換成讀出模式或監視模式就可以使該觸點自動顯示出來。
【25】電腦上的編程軟件和三菱PLC通訊不上是什么原因?通訊線的端口如何設置?
答:通訊不上的原因有多種,
1、可能是沒有給PLC通電;
2、編程軟件創建的工程類型與實際PLC類型不同;
3、可能是是通信端口設置問題;
4、用了USB轉232線,但沒有安裝驅動或者驅動沒有安裝好。
原因可能有多種,需要一個一個去排查。編程線主要有兩種 SC-09 , USB-SC-09 ,在使用SC-09時,如果電腦沒有RS232接口,需配置USB/RS232轉換器,購買該轉換器時,同時需要安裝驅動,安裝驅動后,在電腦的設備管理器中會有該轉換器的虛擬RS232端口號,如COM4,編程時下載上載就要選取這個端口號。
更多三菱PLC技術問題請點擊:三菱PLC技術服務
另外進來的小伙伴記得關注海藍機電官網,我們將定期更新產品、技術性文案 帶您一起漲知識!




評論信息